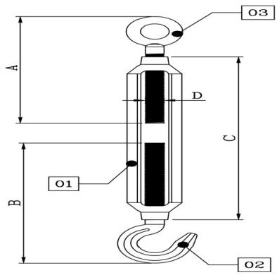
TURNBUCKLE


| CODE | A | B | C | D | MINIMUM BREAKING LOAD (KN) | APPROXIMATE WEIGHT (KG) |
| JJTTR01 | 198 | 208 | 295 | 3/4” | 12 | 1.52 |
| JJTTR02 | 170 | 180 | 250 | 5/8" | 8 | 0.92 |
| THE DRAWINGS ARE FOR REFERENCE ONLY. WE CAN PRODUCE ACCORDING TO YOUR SPECIFICATIONS. PLEASE CONTACT US. |


| CODE | A | B | C | D | MINIMUM BREAKING LOAD (KN) | APPROXIMATE WEIGHT (KG) |
| JJTTR01 | 198 | 208 | 295 | 3/4” | 12 | 1.52 |
| JJTTR02 | 170 | 180 | 250 | 5/8" | 8 | 0.92 |
| THE DRAWINGS ARE FOR REFERENCE ONLY. WE CAN PRODUCE ACCORDING TO YOUR SPECIFICATIONS. PLEASE CONTACT US. |